料倉破拱
概述
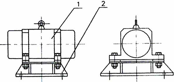
料倉破拱由振動電機和底座兩部分組成,由于底座緊固地安裝在料倉壁上,振動電機和底座由螺栓緊密地固定為一體。由于料倉破拱的周期性振動,便產生了對料倉壁的周期性高頻振動。使物料受交變速度和加速度的影響,處于不穩定狀態,同時,使物料與倉壁脫離接觸、消除物料與倉壁的摩擦。進而有效地消除料倉內物料間的相對穩定性,克服了物料的內摩擦力和聚集力,以使物料從料倉口順利排出。
特點
1、料倉破拱體積小、重量輕、高效節能、安裝簡單等特點。
2、料倉破拱是以振動電機為激振源的節能通用型產品。
3、能有效的紹消除內磨擦、潮解、帶電、成分偏析等原因導致的架橋、搭拱、堵塞現象。

參數
|
型號
|
電 壓
(V) |
功 率
(W) |
適倉壁板厚(mm)
|
倉鉗部容量(T)
|
激振力kg
|
振 動
頻 率 (min-1) |
振幅mm
|
外形尺寸(長*寬*高)
|
重量
(kg) |
|
ZFB-3
|
380
|
0..09
|
2~3
|
0.5
|
100
|
3000
|
1.5
|
258*260*198
|
11
|
|
ZFB-4
|
0.18
|
3.2~4.5
|
1
|
200
|
1.5
|
320*326*265
|
28
|
||
|
ZFB-5
|
0.25
|
4.5~6
|
3
|
300
|
2
|
360*328*255
|
40
|
||
|
ZFB-6
|
0.37
|
6~8
|
10
|
500
|
2
|
370*460*310
|
60
|
||
|
ZFB-9
|
0.75
|
8~10
|
20
|
1000
|
4
|
427*460*374
|
90
|
||
|
ZFB-12
|
1.5
|
10~13
|
50
|
2000
|
4
|
470*482*420
|
196
|
||
|
ZFB-20
|
2.2
|
13~25
|
150
|
3000
|
5
|
535*520*432
|
220
|
||
|
ZFB-30
|
3.7
|
25~40
|
200
|
5000
|
5
|
553*610*453
|
280
|
料倉破拱外型尺寸
|
型號
|
ZFB-3
|
ZFB-4
|
ZFB-5
|
ZFB-6
|
ZFB-9
|
ZFB-12
|
ZFB-20
|
ZFB-30
|
|
L
|
258
|
320
|
360
|
370
|
440
|
470
|
535
|
553
|
|
A
|
239
|
253
|
280
|
298
|
419
|
423
|
470
|
495
|
|
B
|
260
|
326
|
328
|
460
|
462
|
482
|
520
|
610
|
|
H
|
198
|
265
|
255
|
310
|
374
|
420
|
432
|
453
|
|
C
|
199
|
213
|
240
|
248
|
369
|
363
|
410
|
435
|
|
D
|
220
|
286
|
288
|
410
|
412
|
422
|
460
|
550
|
|
Φ
|
10
|
12
|
14
|
16
|
20
|
22
|
34
|
34
|
用途
料倉破拱是保證穩定供料所必需的設備,主要是依靠高頻振動和沖擊力,使物從料倉口順利排出,因而廣泛用于冶金、食品、水泥、煤炭、化肥、糧食、鑄造、陶瓷、制藥、化工、建材、火電、磨料等行業中貯料倉的防閉塞之用。
相關產品
-
CZ系列倉壁振動器
-
ZFB系列防閉塞裝置
ZFB系列防閉塞裝置由振動電機和底座兩部分組成。由于底座緊固地安裝在料倉壁上,振動電機和底座由螺栓緊密地固定為一體。這樣就構成了單質點定向強迫振動系統。當防閉塞裝置開始工作時,振動電機的高速轉動。
立即了解?ZFB系列防閉塞裝置
-
BZF倉壁振動器
BZF倉壁振動器是以振動電機為激振源的節能通過型產品,它是靠高頻振動和沖擊力,有效地消除由于內摩擦、潮解、帶電、成分偏析等原因而引起的架橋、搭拱、堵塞等現象,從而使物料從倉口順利排出,保證穩定供料所必需的設備。
立即了解?BZF倉壁振動器
-
LZF倉壁振動器
-
TZF倉壁振動器
TZF系列倉壁振動器是以振動電機為激振源的節能通用型產品,它是靠高頻振動和沖擊力,有效地消除物料由于內磨擦、潮解、帶電、成分偏析等原因而引起的架橋、搭拱、堵塞現象,從而使物從料倉口順利排出,保證穩定供料所必需的設備。
立即了解?TZF倉壁振動器
-
料倉防堵器
-
料倉振打器
料倉振打器可用于清除各種倉壁、管道粘結物料,防止和排除各種料倉由于物料的內磨擦、潮解、帶電、成份偏析等原因引起的“堵塞”、“搭拱”現象。但對粘性物料料倉振打器的破拱能力將會顯著降低。
立即了解?料倉振打器
-
電動振動器
電動振動器由振動電機和底座兩部分組成,由于底座緊固地安裝在料倉壁上,振動電機和底座由螺栓緊密地固定為一體。這樣就構成了單質點定向強迫振動系統。電動振動器開始工作時,振動電機的高速轉動。電動振動器產生了對料倉壁的周期性高頻振動。
立即了解?電動振動器
動態
-
25
2024-04
倉壁振動器的工作原理及使用注意點
倉壁振動器的操作方便、高效節能、安裝簡單,廣泛用于電力、煤炭、建材、礦山、化工、冶金、鑄造、輕工、糧食、交通等各種行業。
-
16
2014-06
料倉振動防閉塞裝置的應用
主要是防止和消除各種料倉、料罐、料門內物料的磨擦、潮解、帶電、成份偏析等原因引起的起拱、管壯通道、粘倉等閉塞現象的專業設備。料倉振動防閉塞裝置可以使物料從料倉口流暢輸出,保證整個生產流程正常工作,提高物料輸送自動化程度。
-
10
2014-06
防閉塞裝置使用時的注意事項
倉壁振動器節制箱與溜槽檢測器一起運用,可隨時檢測和防止溜槽堵塞缺點的發生,提高自動化程度。該裝置具有斷相、過流、短路等維護,還具有電源指示,上限停機指示,缺點報警等功用。
-
01
2014-03
倉壁振動器的原理及用途
倉壁振動器又稱振動防防閉塞裝置,用來使料倉、料罐或料斗漏料段的傾斜壁高頻振動,以防止倉(罐、斗)內的物料起拱、出現管狀通道、倉壁粘料等不暢流現象,以保證物料從料倉、料罐或料斗中順暢流出
-
01
2012-03
倉壁振動器的小小介紹
倉壁振動器也稱防閉塞裝置、倉壁振打器,用于防止和排除各種慣性振動器由于物料的內摩擦、潮解、帶電、成分偏析等原因引起的“堵塞”、“塔拱”現象。
熱銷產品
-
DZSF直線振動篩
DZSF系列直線振動篩是由篩箱、篩框、振動電機、減振系統及座架等組成。直線振動篩是用振動電機作為振動源,固定在篩箱上兩臺相同的振動電機做相反方向自同步旋轉,振動電機所帶的偏心塊在旋轉時各個瞬間位置所產生的離心力之分力沿拋擲方向作往復運動
立即了解?DZSF直線振動篩
-
CZ系列倉壁振動器
-
ZG系列慣性振動器
-
GZ系列電磁振動給料機
GZ系列電磁振動給料機在生產流程中,用于把塊狀、顆粒狀、粉狀物料從貯料倉或漏斗中定量、均勻、連續地給到受料裝置中去。
立即了解?GZ系列電磁振動給料機